Today at IAAPA the ride vehicles for the previously announced Gaurdians of The Galaxy coaster were unveiled! The coaster, which will be located in the former Universe of Energy building and in a new show building behind it, will be a “storytelling coaster and each car will be programmed to point riders in the direction of elements throughout the course of the ride.”
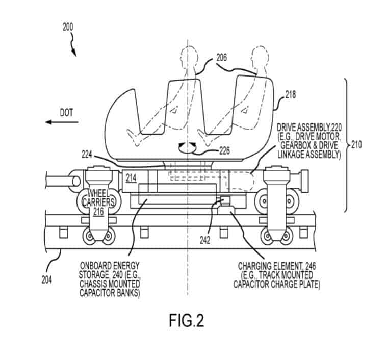
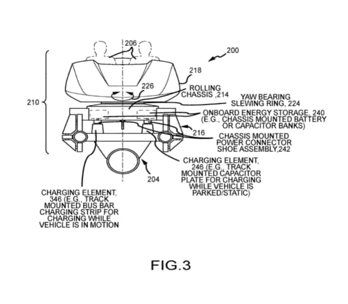
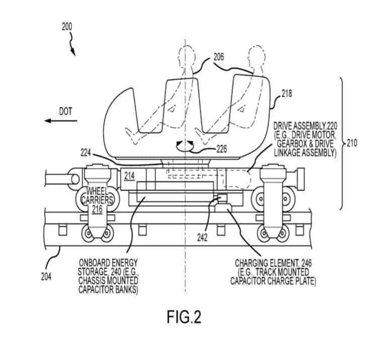
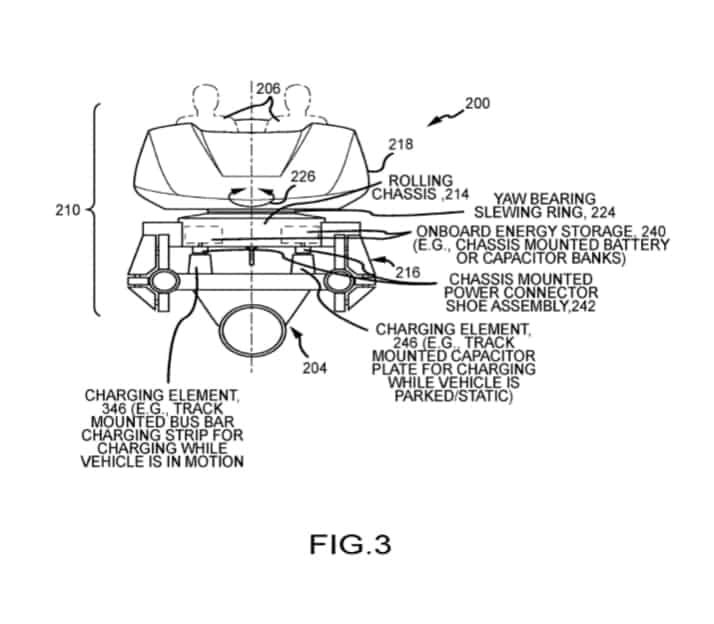
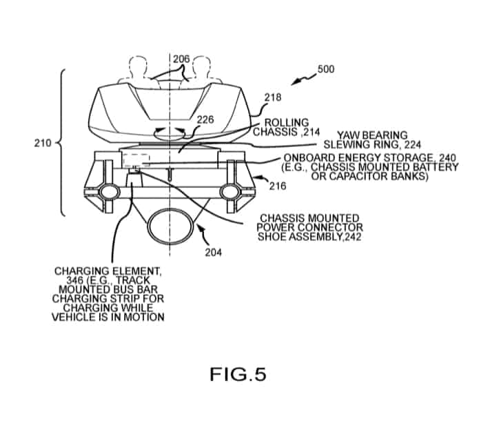
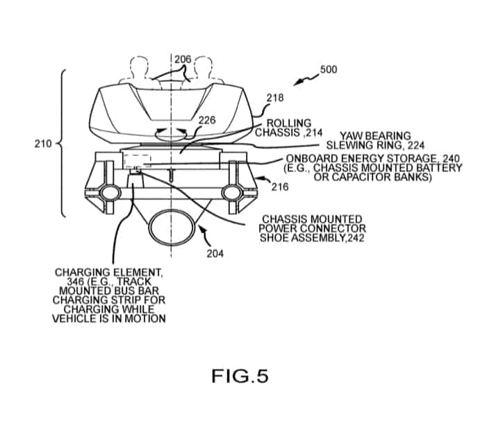
Disney recently filed a patent explaining how these vehicles might point riders in different directions. The system Disney proposed will allow the cars to rotate on an axis; this in it’s self is interesting, but perhaps more interesting is method by which these vehicles will be powered.
A common issue in these types of vehicles is power for the rotations, Disney has solved his by placing charging stations in the load and unload areas as well as in a number of locations throughout the attraction.



